iframe page F370 Page Here

Clearances to Walls and Ceilings


The clearances listed and diagrammed below and as listed in the manual have been
tested to UL and ULC standards and are the minimum clearances to combustible
materials specifically established for the Jøtul F 370.
Product & installation specifications are subject to change without notice.
Product installation must adhere strictly to the installation manual shipped with product!


A combustible surface is anything that can burn
(i.e. sheet rock, wall paper, wood, fabrics etc.).
These surfaces are not limited to those that are visible
and also include materials that are behind non-combustible materials.
If you are not sure of the combustible nature of a material,
consult your local fire officials.

Remember: "Fire Resistant" materials are considered combustible;
they are difficult to ignite, but will burn.
Also "Fire-rated" sheet rock is also considered combustible.

Contact your local building officials about restrictions and
installation requirements in your area.

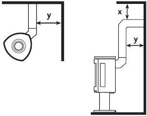
Top Exit Clearances


Rear Exit Clearances
The stove position will be determined by the greater of either the
stove clearance or the chimney connector clearance.


Alcove Installation

The Jøtul F 370 can be installed in an alcove as diagrammed in below drawings.
1. The stove must be installed only with double-wall chimney connector.
2. Wall must extend over the entire area.
3. Alcove floor protection must consist of a UL/ULC or
WHI listed Type 1 hearth pad or a non combustible material.
4. Minimum Alcove Ceiling Height: Unprotected Surface - 72”
No alcove ceiling clearance reduction is permitted.