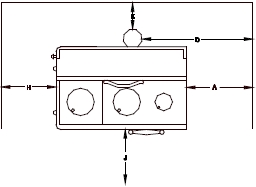
Clearances to Walls and Ceilings


This is a key shortcut page to information that is in the product manual.
you will find all the information you seek
under the "Manuals" popup menu on the bottom of the page.

The clearances listed and diagrammed below and as listed in the manual have been
tested to UL and ULC standards and are the minimum clearances to combustible
materials specifically established for the Cuisiniere stove.
Product & installation specifications are subject to change without notice.
Product installation must adhere strictly to the installation manual shipped with product!


A combustible surface is anything that can burn
(i.e. sheet rock, wall paper, wood, fabrics etc.).
These surfaces are not limited to those that are visible
and also include materials that are behind non-combustible materials.
If you are not sure of the combustible nature of a material,
consult your local fire officials.

Remember: "Fire Resistant" materials are considered combustible;
they are difficult to ignite, but will burn.
Also "Fire-rated" sheet rock is also considered combustible.

Contact your local building officials about restrictions and
installation requirements in your area.







Ceiling Clearances